产品详细
产品名称: HPT1710有线模拟量采集模块
发布日期: 2016-07-05
点击数: 2871
二维码:
简述:
产品详情
HPT1710系列产品是集采集、通讯为一体的模拟量采集模块, 可采集 0 ~20mA、0~10mA、0 10V、0 5V 的直流信号,通讯可选 RS 232或 RS 485接口。关键器件均选用高精度器件,保证了模块的高精度和良好的线性;在电源、 通讯以及输入部分均做了完备的保护措施,使得模块在应用中更加安全、稳定; 产品协议为 Modbus RTU 通讯协议,使模块具有良好的通用性。模块结构设计合 理,便于现场安装和调试,适用于传感器信号的采集及与上位机之间的通讯传输, 可满足构建不同行业的监控系统的需求。
技术参数
|
技术参数表 |
|||
|
供电电压 |
DC 18V~30V |
||
|
供电隔离电压 |
DC 1500V |
||
|
平均功耗 |
约 1.2W |
||
|
系统速度 |
通讯周期 |
100mS(9600bps) |
|
|
数据更新周期 |
5 次/秒(默认) |
||
|
采集信号类型 |
020mA、010mA、010V、05V 等 |
||
|
采集精度 |
±0.1% |
||
|
通讯方式 |
RS232、RS485 |
||
|
通讯协议 |
Modbus RTU |
||
|
通讯波特率 |
1200bps、2400bps、4800bps、9600bps、 |
||
|
19200bps、38400bps、57600bps、115200bps |
|||
|
通讯帧格式 |
8 个数据位、偶校验、1 个停止位(默认) |
||
|
8 个数据位、奇校验、1 个停止位 |
|||
|
8 个数据位、无校验、2 个停止位 |
|||
|
8 个数据位、无校验、1 个停止位 |
|||
|
通讯接口 |
RS232 |
DB9(孔) |
|
|
RS485 |
端子(3.81mm) |
||
|
通讯隔离电压 |
RS232 |
DC 2500V |
|
|
RS485 |
DC 2500V |
||
|
通讯 ESD 保护电压 |
RS232 |
±8KV (接触放电) |
|
|
±15KV (气隙放电) |
|||
|
RS485 |
±2KV |
||
|
工作环境温度 |
30℃~60℃ |
||
|
工作环境湿度 |
5~95%RH |
||
|
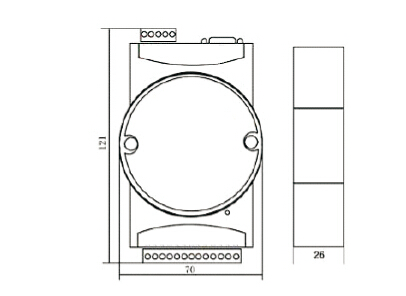
产品尺寸 |
121mm×70mm×26mm |
||
|
安装方式 |
滑轨式 |
||
|
产品重量 |
约 100g |
||
选型指南
|
HPT1710- |
|
产品系列代号 |
||||
|
|
1 |
|
采集模块 |
|||
|
|
1 |
|
直流电流信号采集 |
|||
|
2 |
|
直流电压信号采集 |
||||
|
|
4 |
|
|
4 路采集通道 |
||
|
8 |
|
|
8 路采集通道 |
|||
|
|
10mA |
|
采集 010mA 电流信号 |
|||
|
20mA |
|
采集 020mA 电流信号 |
||||
|
5V |
|
采集 05V 电压信号 |
||||
|
10V |
|
采集 010V 电压信号 |
||||
|
|
232 |
RS232 通讯 |
||||
|
485 |
RS485 通讯 |
|||||
选型举例:HPT1710-118 20mA 232
8 路直流电流采集,信号采集范围为 0 ~20mA,RS 232 串口通讯。
典型尺寸

模块尺寸:长×宽×高:121mm×70mm×26mm


