产品详细
产品名称: HPT503微型(螺纹型)压力传感器
发布日期: 2016-07-04
点击数: 8319
二维码:
简述:
产品详情
产品特点
● 体积小、重量轻
● 适用于小空间螺纹安装
● 可进行静态压力测量,亦可对动态压力测量,响应时间短
订购指南
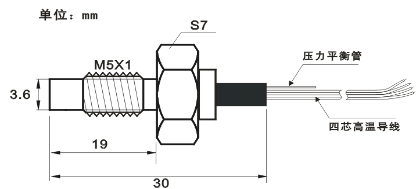
选型尺寸

注:1)线缆为5芯屏蔽线,直径1.7mm。
2)尺寸可以根据客户要求定制。
● 体积小、重量轻
● 适用于小空间螺纹安装
● 可进行静态压力测量,亦可对动态压力测量,响应时间短
性能参数@ 25℃
|
● 测量范围: ● 压力类型: ● 压力过载: ● 满量程输出: ● 固有频率: ● 输入阻抗: ● 输出阻抗: ● 零点电压: ● 非线性: ● 重复、迟滞性: ● 工作温度: ● 补偿温度: ● 零点温度漂移: |
0~1KPa~5MPa (测量介质为干燥无腐蚀性气体) 0~500KPa~20MPa(测量介质为无腐蚀性、不导电液体) 绝压、表压、密封表压;表压型传感器出线处带有平衡压力导管 2倍额定压力 ≥40mV ≥10KHz ≥10KΩ ≥6KΩ <±2%FS <±0.5%FS <±0.3%FS -55℃~120℃ -20℃~25℃或20℃~80℃ <±2%FS/55℃ |
订购指南
|
产品型号 |
量程(KPa) |
输出信号 |
螺纹 |
长度 |
线缆长度 (米) |
其他 |
|
HPT503 |
|
|
|
|
|
|
|
订货举例:HPT503―100KPa表压-0~5V―M5―30mm―0.5 |
||||||
选型尺寸

注:1)线缆为5芯屏蔽线,直径1.7mm。
2)尺寸可以根据客户要求定制。


